How to ground the parapet mount (Outdoor Installation of Bosch IP Cameras & POE Midspan)?
A frequently asked question is how to ground the parapet mount. Please follow the steps below.
Check also the following article:
Step-by-step guide
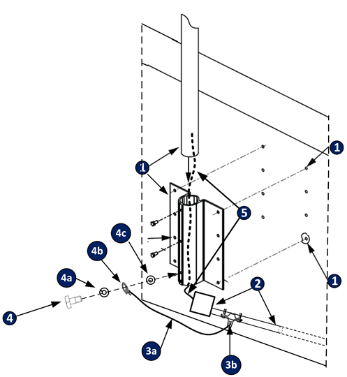
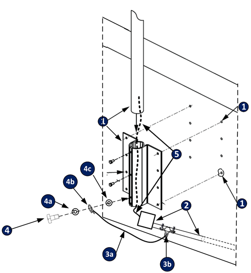
- Install the parapet mount per Section 2.5 of the installation mount, except for the 3/8” bolt at the bottom of the mount.
- Use standard conduit clamps to secure the grounded metal conduit to the building parapet.
- Connect the conduit to an outdoor rated metal junction box. The junction box must be mounted as close as possible to the opening at the bottom of the parapet mount.
- If the conduit cannot be directly connected to the surge suppressor, then use a metal junction box for the conduit connection. Only install the surge suppressor inside a junction box if this is approved by the manufacturer.
- The surge suppressor and/or junction box must be mounted as close as possible to the opening at the bottom of the parapet mount. . Connect the ground per the manufacture’s installation manual.
- Secure the ground wire to the metal conduit with a grounding clamp fitting.
- Use a stranded conductor 8 AWG for the ground wire.
- Example of a grounding clamp: Burndy P/N C11N.
- Stack the following onto one of the 3/8 bolts included with the pendant arm in the order on the drawing.
- 3/8” Stainless Steel split washer.
- 3/8” ring terminal with the crimped ground conductor.
- Example of the ring terminal: Burndy P/N YAD8CM10E38
- 3/8” Stainless Steel flat washer.
- Secure this bolt assembly to the bottom hole of the parapet mount.
- Route the Ethernet cable from the output side of the surge suppressor though the parapet pipe.
- Complete the installation of the AUTODOME pipe mount kit per sections 2.6 and 2.7 of the parapet mount installation manuals.
